UF单机袋式除尘器
.jpg)
一、概述
单机袋式除尘器(unl-filter)系引进美国富乐公司,具有八十年代技术水平的小型袋式除尘器。这种小型单机袋式除尘器经济实用;结构简单紧凑,安装容易,维修方便(内滤式)主要用于库顶、库底、仓顶及各种输送机等排放和扬尘点收尘,该单机袋式除尘器,除尘器采用涤纶布袋,入口温度<120℃除尘效果达99.8%。如有特殊用途可提供耐温,耐腐蚀滤料的单机袋式除尘器。
二、单机袋式收尘器结构组成
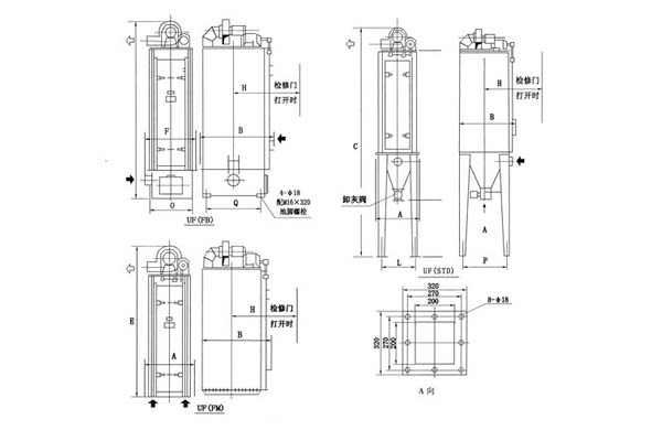
(1)箱体:包括⑤壳体④滤袋⑥检修门⑦滤袋套箍,花板,箱体设计耐压2500pa;
(2)出风系统包括:①风机②风机配用电机及传动;
(3)摇动机构包括:⑨摇动用减速电机⑩曲杆,摇动连杆③摇动轴(或称滤袋悬挂轴);
(4)进气和排灰部分:可分为三种,①uf(fm)型,下部为敞开式,清灰时粉尘直接从花板卸出进入库、仓等。花板法兰直接座在库、仓排气口,排气直接通过花板孔,进入滤袋。②uf(std)可下接灰斗,主要用库底及输送设备的扬尘点。③uf(fb)型带有储灰箱,主要用于浓度不高的通风口气体净化。
三、型号说明
uf(std)/(fm)/(fb)-m-n
u:单机(unit)
f:除尘器(futey)
(std)/(fm)/(fb):安装型号
m:规格号
n:多机组合时的单元数
四、技术性能


-
上一页:
GMC袋式收尘器 -
下一页:
SD单机脉冲袋收尘器



